
产品特点:KTK505悬臂梁式称重传感器采用优质合金钢,表面镀镍,安装高度低,长期稳定性好,结构紧凑,防爆性能高。
产品用途:KTK505悬臂梁式称重传感器适用于地上衡、建材配料等各种配料称重控制。
量程:5kN(500kg)、10kN(1t)、20kN(2t)、30kN(3t)
技术参数:
序号 | 产品技术参数 | |
1 | 额定载荷 | 0.5-3t |
2 | 综合精度 | 0.02%F.S |
3 | 灵敏度 | 2.0mV/V |
4 | 零点输出 | ±1%F.S |
5 | 输入阻抗 | 381±4Ω |
6 | 输出阻抗 | 350±1Ω |
7 | 绝缘阻抗 | ≥5000MΩ |
8 | 补偿温度范围 | -10~40℃ |
9 | 适用温度范围 | -20~65℃ |
10 | 安全过载 | 150%F.S |
11 | 极限载荷 | 300%F.S |
12 | 材质 | 合金钢 |
13 | 激励电压 | 10V(DC) |
14 | 密封等级 | IP67 |
15 | 电缆 | 3m |
16 | 接线方式 | 见产品合格证 |

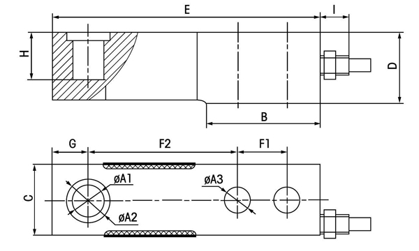
型号 | 量程(kN) | 量程(t) | ΦA1 | ΦA2 | ΦA3 | B | C | D | E | F1 | F2 | G | H | I | J |
KTK505 | 5 | 0.5t | 16 | 22 | 12.5 | 57.8 | 30.2 | 35 | 133.4 | 25.4 | 76.2 | 15.4 | 22 | 17 | 55.3 |
10 | 1t | 16 | 22 | 12.5 | 58.2 | 36.6 | 36.6 | 137 | 25.4 | 76.2 | 18.4 | 23.7 | 17 | 54.6 | |
20 | 2t | 16 | 22 | 12.5 | 58.2 | 36.6 | 36.6 | 137 | 25.4 | 76.2 | 18.4 | 23 | 17 | 55.3 | |
30 | 3t | 16 | 22 | 14.7 | 58.2 | 36.6 | 36.6 | 137 | 25.4 | 76.2 | 18.4 | 23 | 17 | 55.3 |